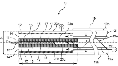
The invention relates to a device (10) for generating a plasma jet (P) comprising a first conduit (11) inside a second conduit (12), a first electrode (17) and a second electrode (18) for generating an electric field in a feed gas flow (F) provided in a first flow channel (15) to generate a plasma jet (P), and adapted to provide a curtain gas flow (C) in the space between the first and second conduit (11,12), wherein the first electrode (17) is positioned radially outside of the first flow channel (15), and wherein the radial distance of the second electrode (18) from a longitudinal axis (l) is larger than the radial distance of the first electrode (17) from said longitudinal axis (l). The invention further relates to an endoscope comprising a device (10), a method for generating a plasma jet (P), a method and a use of the device (10) for manipulating a cavity.
Add to favorites:
Share:
Listing Description
Offer Details
Specifications and Deliverables:
Value Proposition:
Input Required from Customer:
Fields of Application:
Patent/Publication Number
Main Patent Claims:
1. Device (10) for generating a plasma jet (P), comprising a first conduit (11), which comprises a first outlet (13), and a second conduit (12), which comprises at
least one second outlet (14), wherein the first conduit (11) is arranged inside the second conduit (12), such that a first flow channel (15) is provided inside the
first conduit (11), and a second flow channel (16) is provided in the space between the first conduit (11) and the second conduit (12),
a first electrode (17) and a second electrode (18), wherein the first electrode (17) is positioned radially outside of the first flow channel (15),
wherein the radial distance of the second electrode (18) from a longitudinal axis (I) of the first conduit (11) is larger than the radial distance of the first electrode (17) from said longitudinal axis (I),
characterised in that
the first conduit (11) is connected to a feed gas reservoir in order to provide a plasma feed gas in the first flow channel, the first electrode (17) and
the second electrode (18) for generating an electric field in a feed gas flow (F) provided in the first flow channel (15) in order to generate a plasma jet (P) from the feed gas flow (F), wherein the second conduit (12) is connected to a curtain gas reservoir in order to provide a curtain gas flow (C) at the second outlet (14) surrounding the plasma jet (P) emerging from the first outlet (13), wherein said feed gas has an ignition voltage which is lower than the ignition voltage of the curtain gas.
EP3977952 B1
1. Device (10) for generating a plasma jet (P), comprising a first conduit (11), which comprises a first outlet (13), and a second conduit (12), which comprises at
least one second outlet (14), wherein the first conduit (11) is arranged inside the second conduit (12), such that a first flow channel (15) is provided inside the
first conduit (11), and a second flow channel (16) is provided in the space between the first conduit (11) and the second conduit (12), and wherein the device
(10) comprises a first electrode (17) and a second electrode (18) for generating an electric field in a feed gas flow (F) provided in the first flow channel (15) in order to generate a plasma jet (P) from the feed gas flow (F), wherein the device (10) is adapted to provide a curtain gas flow (C) at the second outlet (14) surrounding the plasma jet (P) emerging from the first outlet (13), wherein the first electrode (17) is positioned radially outside of the first flow channel (15), wherein the radial distance of the second electrode (18) from a longitudinal axis (I) of the first conduit (11) is larger than the radial distance of the first electrode (17) from said longitudinal axis (I), characterized in that at least a part of the second conduit (12) comprises a flexible section (19), wherein the
bending stiffness of the flexible section (19) is such that the flexible section (19) can be bent by a bending radius in the range of 10 mm to 100 mm.
Patent Family:
| Field | Value | ||||||||||||||||||||||||||||||
|---|---|---|---|---|---|---|---|---|---|---|---|---|---|---|---|---|---|---|---|---|---|---|---|---|---|---|---|---|---|---|---|
| Patent Family |
|
Video
Documents
No documents available.
Location and Map
Sorry, no records were found. Please adjust your search criteria and try again.
Sorry, unable to load the Maps API.
Adress:
Greifswald
Mecklenburg-Vorpommern
17489
Germany
Contact the listings owner
Connect with the Listing Owner!
💬 Please log in now to send a direct message to the listing owner. Not a member yet? Sign up for free and start connecting today!
Related Funding and Finance Opportunities
Unlock Exclusive Funding Opportunities!
🔑 Get instant access to tailored funding opportunities that perfectly match your needs. This powerful feature is exclusively available to our premium members—helping you save time, stay ahead of the competition, and secure the right funding faster.
Upgrade to Premium now and never miss an important opportunity again! Already a premium member? Log in here to explore your matches.
Related Offers
Unlock Related Offers!
🚀 Gain access to related technology solutions that match your specific needs and interests—carefully selected to support your innovation goals. These offers are exclusively available to our premium members, helping you identify relevant technologies faster and start the right conversations with potential partners.
Upgrade to Premium now and never miss an important opportunity again! Already a premium member? Log in here to explore your matches.
Related Knowledgeable Resources
Discover More with Premium: Related Knowledge Resources
🔒 You’re missing out on expert-curated knowledge specifically matched to this topic. As a Premium member, you gain exclusive access to in-depth articles, guides, and insights that help you make smarter decisions, faster.
Whether you’re preparing a funding proposal, researching a new market, or just need reliable information—our Premium knowledge matches save you hours of research and point you directly to what matters.
Upgrade to Premium now and instantly unlock relevant knowledge tailored to your needs! Already a member? Log in here to view your personalized content.
Viewers
See Who’s Interested in Your Offers!
🎯 Curious about who’s viewing your listings? Unlock insights into your last 20 visitors and discover potential leads instantly! This exclusive feature is only available to our premium members—helping you track engagement, connect with the right audience, and maximize your opportunities.
Upgrade to Premium now to gain access! Already a member? Log in here.
Viewers
See Who’s Interested in Your Offers!
🎯 Curious about who’s viewing your listings? Unlock insights into your last 20 visitors and discover potential leads instantly! This exclusive feature is only available to our premium members—helping you track engagement, connect with the right audience, and maximize your opportunities.
Upgrade to Premium now to gain access! Already a member? Log in here.
