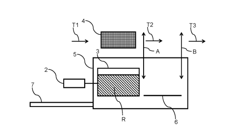
The invention relates to a method for the biological decontamination of material to be treated (4) by means of a reactive gas (R) comprising the generation of a reactive gas (R) from a process gas by igniting a plasma, filling a container (3) with the reactive gas (R) and the Decontamination of the material to be treated (4) in the container (3) by means of the reactive gas (R).
The invention further relates to a plasma ignition device (20) comprising an electrically conductive base plate (201) and at least two electrically conductive pins (202), the plasma ignition device (20) being designed to create an electric field between the pins (202) by resonance with microwaves to generate, wherein a plasma can be ignited by means of the electric field.
The invention also relates to a system (1) for the biological decontamination of items to be treated (4) by means of a reactive gas (R) with a container (3) for receiving items to be treated (4) and a plasma ignition device (20).
Add to favorites:
Share:
Listing Description
Offer Details
Specifications and Deliverables:
Value Proposition:
Input Required from Customer:
Fields of Application:
Patent/Publication Number
Main Patent Claims:
1. Immersion decontamination method for the bio-decontamination of objects (4) by means of a reactive gas (R), comprising the following steps:
• Generating a reactive gas (R) from a process gas by igniting a plasma, wherein ambient air is used as the process gas and the reactive gas (R) comprises nitrogen dioxide (N02), and wherein the reactive gas (R) has a higher density than air at the same pressure and temperature,
• Filling a container (3) with the reactive gas (R) so that the container (3) is almost completely or at least partially filled with the reactive gas (R),
• Bio-decontamination of the objects to be treated (4) in the container (3) by means of the reactive gas (R), wherein the objects to be treated (4) are lowered into the container (3) filled with reactive gas (R) so that the objects to be treated are completely covered by the reactive gas, wherein, after a decontamination period has elapsed, the objects to be treated are removed from the container,
• wherein, after the decontamination time has elapsed, the objects are flushed with a flushing gas at a flushing position in order to remove the reactive gas, so that residues of the reactive gas are removed from the objects to be treated.
Patent Family:
| Field | Value | ||||||||||
|---|---|---|---|---|---|---|---|---|---|---|---|
| Patent Family |
|
Video
Documents
No documents available.
Location and Map
Sorry, no records were found. Please adjust your search criteria and try again.
Sorry, unable to load the Maps API.
Adress:
Greifswald
Mecklenburg-Vorpommern
17489
Germany
Contact the listings owner
Connect with the Listing Owner!
💬 Please log in now to send a direct message to the listing owner. Not a member yet? Sign up for free and start connecting today!
Related Funding and Finance Opportunities
Unlock Exclusive Funding Opportunities!
🔑 Get instant access to tailored funding opportunities that perfectly match your needs. This powerful feature is exclusively available to our professional members—helping you save time, stay ahead of the competition, and secure the right funding faster.
Upgrade to Professional now and never miss an important opportunity again! Already a member? Log in here to explore your matches.
Related Offers
Unlock Related Offers!
🚀 Gain access to related technology solutions that match your specific needs and interests—carefully selected to support your innovation goals. These offers are exclusively available to our professional members, helping you identify relevant technologies faster and start the right conversations with potential partners.
Upgrade to Professional now and never miss an important opportunity again! Already a member? Log in here to explore your matches.
Related Knowledgeable Resources
Discover More with Professional: Related Knowledge Resources
🔒 You’re missing out on expert-curated knowledge specifically matched to this topic. As a professional member, you gain exclusive access to in-depth articles, guides, and insights that help you make smarter decisions, faster.
Whether you’re preparing a funding proposal, researching a new market, or just need reliable information—our professional knowledge matches save you hours of research and point you directly to what matters.
Upgrade to Professional now and instantly unlock relevant knowledge tailored to your needs! Already a member? Log in here to view your personalized content.
Viewers
See Who’s Interested in Your Offers!
🎯 Curious about who’s viewing your listings? Unlock insights into your last 20 visitors and discover potential leads instantly! This exclusive feature is only available to our professional members—helping you track engagement, connect with the right audience, and maximize your opportunities.
Upgrade to Professional now to gain access! Already a member? Log in here.
