The non-thermal atmospheric pressure plasma jet (ntAPPJ) is composed of a quartz capillary with an inner diameter of 4 mm
Innovation Offers
The HelixJet is a capacitively coupled radio-frequency (RF) plasma source operating at atmospheric pressure. The RF power is applied to
The Miniaturized Noble Gas Plasma Jet has originally been designed to be inserted into the working channel of a conventional
This plasma source is a commercial welding power source produced by Miller Electric Manufacturing Co., Appleton / USA. This welding
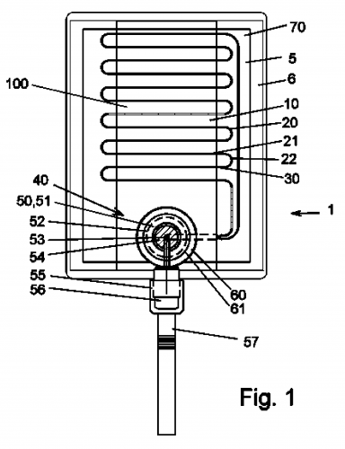
The invention relates to a system (100) for treating surfaces by means of plasma, comprising: – a plasma device (20)
The invention relates to a system (1) for generating and controlling a non-thermal atmospheric pressure plasma, comprising: – a discharge
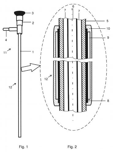
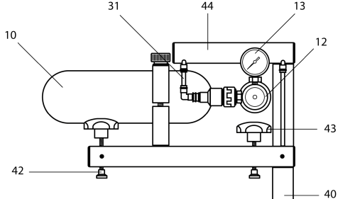
Portable plasma treatment system (1) for generating an anisothermal plasma for use on humans, comprising the components: a) a compressed
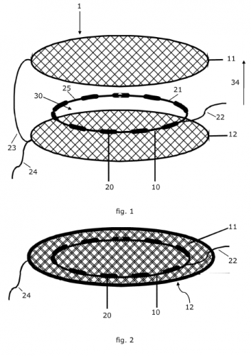
The invention relates to a system for treating surfaces of bodies, in particular a vacuum dressing, comprising at least one
The invention relates to a device, to a system, and to a method for antimicrobial treatment during performance of operations
A device for generating plasma (1) comprises a high voltage electrode (10) as well as at least one external electrode
The present invention relates to a plasma generating device which comprises an electrode carrier (5) and a first electrode (10)
Disclosed is a device (1) for biologically decontaminating percutaneous access points or the stomata of patients, by means of a
